Forum modelarskie RC , projektowanie CAD

forum.aerodesignworks.eu
Dzisiaj jest 17 kwie 2026, o 11:54

Strefa czasowa UTC+2godz.




Nowy temat Odpowiedz w temacie  [ Posty: 37 ]  Przejdź na stronę Poprzednia  1, 2, 3, 4
Autor Wiadomość
Post: 10 sty 2017, o 15:07 
Offline
Administrator
Awatar użytkownika

Rejestracja: 22 sie 2011, o 22:39
Posty: 3871
Lokalizacja: Elbląg
piciu pisze:
Witam!

Czy rysunki SOKÓŁ-BIS już powstały ?

Pozdrawiam


Prawie... cierpliwości ;) .

_________________
https://gliders.pl/ Szybowce są najfajniejsze....
SAM 18-007
pozdrawiam
milo


Na górę
 Wyświetl profil  
 
Post: 11 lut 2017, o 13:29 
Offline
Administrator
Awatar użytkownika

Rejestracja: 22 sie 2011, o 22:39
Posty: 3871
Lokalizacja: Elbląg
Maciek rozpoczął na forum, w osobnym wątku, rysowanie Sokoła. Już widzę, że będzie to "tytaniczna" praca, bacznie obserwuję i dopinguję. Trochę pogonił mnie do pracy nad swoim Sokołem ;) .
Zauważyliście, że już bardzo długo zmagam się z tematem - kilka lat - szybowiec piękny, a materiałów skąpo. No to jak to jest z tym Sokołem. Jak to jest z tym rysowaniem. Cały czas szukam, z różną intensywnością, materiałów na jego temat. Właściwie to jest cały czas huśtawka między rysowaniem z tego co jest, czy jak to robi Maciek, próba własnego wyciągnięcia sylwetki ze zdjęć. Osobiście skłaniam się ku pierwszej metodzie. Zgadzam się z Maćkiem, że rysunki Glassa obarczone są wieloma błędami, nieścisłościami, ale są. Dopóki nie odnajdzie się oryginalna dokumentacja, lub choćby opis techniczny, wszystkie nasze działania będą mniej lub bardziej wiarygodne, prawdziwe.
Postanowiłem oprzeć się na rysunkach z PKL i "Szybowców akrobacyjnych", zdjęciach z tych książek i internetu.
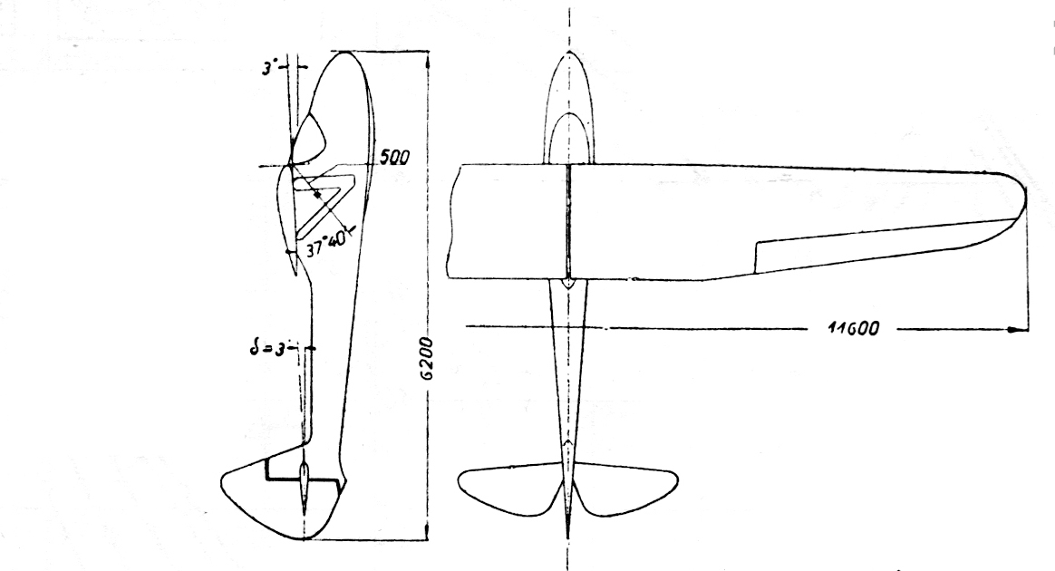
Poniżej moja chyba już piąta wersja kadłuba..... o ile obrys boczny można jakoś wypośrodkować, to obrys z widoku z góry to totalna niewiadoma, obrysowany z dostępnych planów i przeskalowany do kadłuba nie pasuje. Próba wyrysowania wręg kończy się jakimiś potworkami, zupełnie nie pasującymi. Zmieniłem szerokość kadłuba, tak aby obrysy wręg były "foremne" i ładnie eliptyczne. Taką przyjmuję wersję i właściwie rysowanie zaczyna się od początku..... Nie myślę już o Sokole jako makiecie, nie ma takiej opcji. Chciałbym tylko aby model nareszcie powstał i poleciał. Skala 1:5, profil SD7084, rozpiętość 230 cm.
Na zrzutach / trochę już z modelarskim podejściem/: wersja kadłuba którą będę dalej męczył i pomiar wzniosu z planów w PKL /3 st/. Kąt zaklinowania płata w stosunku do osi podłużnej 3 st do osi poziomego 2 st.


Załączniki:
sokół bryła 2.jpg
sokół bryła 2.jpg [ 28.82 KiB | Przeglądany 10739 razy ]
sokół wznios.jpg
sokół wznios.jpg [ 84.4 KiB | Przeglądany 10739 razy ]

_________________
https://gliders.pl/ Szybowce są najfajniejsze....
SAM 18-007
pozdrawiam
milo
Na górę
 Wyświetl profil  
 
Post: 12 lut 2017, o 22:18 
Offline
Modelarz
Awatar użytkownika

Rejestracja: 10 kwie 2015, o 10:34
Posty: 23
Lokalizacja: Warszawa
Milo, jak zauważyłeś pracy będzie mnóstwo, po pierwsze dlatego że uczę się wciąż programu, po drugie dlatego że im dalej się posuwam tym więcej jest do rozwiązania wątpliwości. Materiały na temat Sokoła zbierałem już jakiś czas, nie myślałem że podejmę się tego zadania jednak kończąc projekt Jastrzębia uznałem, że podołam zaprojektowaniu modelu od zera. Poniżej wrzucam dwie foty Sokoła, które znalazłem po wielu godzinach szukania w internecie a których nie ma w żadnej dostępnej literaturze (przynajmniej posiadanej przeze mnie).

Co do metody tworzenia, to ja korzystam z rysunków oraz zdjęć, nanoszę je na siebie i porównuję. Bardzo chciałbym zachować maksymalnie zbliżoną do oryginału sylwetkę Sokoła, dlatego postanowiłem narysować go od nowa. Największe nieścisłości w rysunkach Pana Glassa to:

1. Natarcie skrzydła wystające przed wręgę oparcia pilota.
2. Zbyt małe wg mnie wcięcie (taliowanie ? nie wiem jak to nazwać) dolnej linii kadłuba.
3. Słaby obrys dzioba.
4. Beznadziejny rzut od góry powodujący że przy próbie wykonania modelu 3D szybowiec robi się toporny.
5. Zbyt duży wznios skrzydeł.
6. Spływ skrzydła powinien wystawać za domek na którym mocowane jest skrzydło.
7. Kolejną sprawą która mnie nurtuje jest to, czy dolna powierzchnia skrzydła była płaska na całej długości czy w miejscu gdzie skrzydło zaczyna się zwężać szła jednak lekko do góry.

Kolejnym problemem jest to że było kilka wersji sokoła (prototyp, pierwsza seryjna i bis) wszystkie miały różne obrysy dzioba, do tego prototyp został przerobiony na wersje bis jednak obrys dzioba został stary. Na zdjęciach nieraz ciężko połapać się który szybowiec to która wersja, chyba tylko prototyp można zawsze rozpoznać i właśnie tą wersję postaram się odtworzyć. Milo nie przejmuj się że już siódmy model rysujesz, ja właśnie zaczynam 5ty :) Co do odnalezienia się dokumentacji to raczej bym na to nie liczył, mogą się co najwyżej odnaleźć kolejne zdjęcia.

Milo trzymam kciuki za twój projekt, szybowiec był piękny do tego z tego co udało mi się wyczytać wynika że latał tak dobrze jak wyglądał, zupełnie jak moja ukochana RWD-10, którą kiedyś pewnie też zbuduję.


Załączniki:
dwa sokoły i sroka.jpg
dwa sokoły i sroka.jpg [ 56.91 KiB | Przeglądany 10689 razy ]
Sokół002.jpg
Sokół002.jpg [ 417.39 KiB | Przeglądany 10689 razy ]

_________________
“Bycie drugim, to znaczy być pierwszym który przegrał.”
Na górę
 Wyświetl profil  
 
Post: 13 lut 2017, o 15:40 
Offline
Administrator
Awatar użytkownika

Rejestracja: 22 sie 2011, o 22:39
Posty: 3871
Lokalizacja: Elbląg
No to "męczymy" Sokoła dalej :lol: .
Pozwolę sobie na odniesienie się do wypunktowanych przez Ciebie wątpliwości. Będzie to moje zdanie, to co udało mi się wyczytać ze zdjęć. Chciałbym jeszcze dodać, że po dość, jak mi się wydaje, wnikliwej analizie w/w materiałów, skłaniam się do zdania, że rysunki zawarte w "Szybowcach Akrobacyjnych" T. Murawskiego i W. Chudzińskiego, najlepiej oddają sylwetkę szybowca. W dalszej części mojej wypowiedzi będę ją nazywał "SA" ;) .
Ad 1. Wystaje, ale mało, na niektórych zdjęciach widać, że o parę cm, powiedzmy sam nosek profilu. Rysunek w SA dobrze to oddaje.
Ad 2. Tego, jak to nazwałeś "wytaliowania", nie ma. Tutaj jestem zupełnie pewny. Obrys kadłuba nie ma wklęsłości. Na zdjęciach z SA dobrze to widać. Czasami płoza powoduje złudzenie, że takie coś jest, ale moim zdaniem jest to gra światła i cienia. To złudzenie ma jeszcze inny powód, ale to chyba temat na osobny post.....tak szczerze to nie wiem jak to wytłumaczyć :oops: . Zasadniczo chodzi o to , że dolna część kadłuba, pod płozą jest płaska - mocowanie płozy, tak jak w wielu szybowcach, np Pirat - na zdjęciach cień i światło powodują takie wrażenie.
Ad 3. Tutaj się zgadzam, jest dużo różnic, ale jestem skłonny przyjąć ten z SA.
Ad 4. Bez komentarza, totalna kicha.
Ad 5. Też mam takie wrażenie, chociaż ten z rysunku w SA wydaje się być ok. W modelu przyjmuję 2 st.
Ad 6. Różnie to wygląda na zdjęciach. Chyba lekko wystaje. Temat do dokładnego przeanalizowania. W modelu lekko bym wysunął.... w skali 1:5 może 10/15 mm.
Ad 7. Moim zdaniem graniczącym z pewnością jest tak, że część trapezowa płata, przy całym ogólnym wzniosie, jest zbieżna ku końcówce z widoku z przodu, czyli natarcie - jego linia - jest linią prostą. Tutaj przyjął bym wersję z rysunku w SA. Dokładnie to widać na wielu zdjęciach z SA i innych.

Pozwolę sobie jeszcze na podanie znaków rejestracyjnych i typu Sokoła. Źródło: PKL t.III, rejestr szybowców.
253 - Sokół /prototyp/
262 - Sokół
655 - Sokół
857 - Sokół bis
858 - Sokół bis
859 - Sokół bis
1100 - Sokół bis
1133 - Sokół bis
1138 - Sokół bis
1145 - Sokół bis

Potraktujmy to jako bazę, do uzupełniania i dokładniejszego opisania. Szybowiec na pewno wart jest tego, a model odwdzięczy się wspaniałymi lotami i widokami.

_________________
https://gliders.pl/ Szybowce są najfajniejsze....
SAM 18-007
pozdrawiam
milo


Na górę
 Wyświetl profil  
 
Post: 14 lut 2017, o 01:06 
Offline
Modelarz
Awatar użytkownika

Rejestracja: 10 kwie 2015, o 10:34
Posty: 23
Lokalizacja: Warszawa
Ad 1. Opieram się głównie na zdjęciu dolnym ze str. 18. Na nim jest praktycznie na równo, wystaje za to obicie skórzane.
Ad 2. Ja nadal pewności nie mam, wydaje mi się że niewielka wklęsłość jest, inaczej kadłub od spodu byłby komicznie płaski w miejscu gdzie jest mocowana płoza. Moim zdaniem te zdjęcia potwierdzają, że kadłub ma niewielkie przegięcie, szczególnie na tym zdjęciu w locie to widać bo płoza po środku ma zapewne dętkę lub gumowe krążki zakryte płótnem ale na końcach widać prześwit do kadłuba. Na rysunkach Pana Glasa to też jest to przegięcie. Bez niego przejście płoza kadłub byłoby dość bezsensowne. Pirat ma płaski spód ale tam gdzie jest mocowana płoza kadłub ma łuk, tak samo ma Bocian i wiele innych szybowców, łuk ten jest zazwyczaj bardziej płaskim odwzorowaniem kształtu płozy. Jak narysujesz sobie ten łuk na sokole to wyjdzie Ci, że spód nie może iść prosto. Zauważ na ostatnim zdjęciu, że wręgi dość znacznie wystają poza linię kadłuba a płoza nie jest wcale bardzo daleko od kadłuba. Wg moich analiz najdalej od wręgi nr 5 w obrys kadłuba wychodzi do dołu poza linię dolną utworzoną przez obrys belki ogonowej.

Ad 6. Wystaje na pewno, pytanie o ile ? Zobacz cień na części domku pod skrzydłem na zdjęciu górnym ze str. 18, słońce pada z tyłu co widać po cieniu na kadłubie.
Ad 7. Też wydaje mi się że natarcie jest proste na całej długości.


Załączniki:
oparcie głowy pilota natarcie.jpg
oparcie głowy pilota natarcie.jpg [ 141.05 KiB | Przeglądany 10636 razy ]
dowód 2a.jpg
dowód 2a.jpg [ 134.87 KiB | Przeglądany 10636 razy ]
dowód 2.jpg
dowód 2.jpg [ 165.58 KiB | Przeglądany 10636 razy ]
Untitled-1.jpg
Untitled-1.jpg [ 164.96 KiB | Przeglądany 10636 razy ]
str 20 zdjęcie dolne.jpg
str 20 zdjęcie dolne.jpg [ 264.97 KiB | Przeglądany 10636 razy ]
str 18 zdj górne.jpg
str 18 zdj górne.jpg [ 554.58 KiB | Przeglądany 10636 razy ]
str 16 zdj dolne.jpg
str 16 zdj dolne.jpg [ 210.28 KiB | Przeglądany 10636 razy ]
dowód 1 strona 18 zdjęcie dolne.jpg
dowód 1 strona 18 zdjęcie dolne.jpg [ 1020.66 KiB | Przeglądany 10636 razy ]

_________________
“Bycie drugim, to znaczy być pierwszym który przegrał.”
Na górę
 Wyświetl profil  
 
Post: 14 lut 2017, o 16:17 
Offline
Administrator
Awatar użytkownika

Rejestracja: 22 sie 2011, o 22:39
Posty: 3871
Lokalizacja: Elbląg
Co do Ad.2 to żeśmy nie zrozumieli się troszeczkę :lol: , ale ok. Właśnie jestem w trakcie wymiany korespondencji z Panem Murawskim, ma coś mi przysłać.
Rysunki/szkice w "Szybowcach Akrobacyjnych" są autorstwa Pana Kubalańcy. Nie jest to powielenie rzutów Pana Glassa. Dlatego wydaje mi się, że sylwetka jest bardzo zbliżona do oryginału. Jeżeli będę miał te szkice - plus parę "nowych" zdjęć, postaram się opisać swoje uwagi i spostrzeżenia. Dowiedziałem się również, że nie zachowały się org rysunki Sokoła.... wszystko co "wymyślimy" będzie tylko próbą odtworzenia bryły/sylwetki szybowca, mniej lub bardziej udaną. Tak czy inaczej jestem bardzo szczęśliwy, że temat wzbudza zainteresowanie i jest szansa na zbudowanie Sokoła jako modelu w jak najwierniejszym odwzorowaniu. Zachęcam do dyskusji i wymiany uwag.

_________________
https://gliders.pl/ Szybowce są najfajniejsze....
SAM 18-007
pozdrawiam
milo


Na górę
 Wyświetl profil  
 
Post: 17 lut 2017, o 16:51 
Offline
Administrator
Awatar użytkownika

Rejestracja: 22 sie 2011, o 22:39
Posty: 3871
Lokalizacja: Elbląg
Otrzymałem od Pana Tomasza Murawskiego trochę materiałów na temat Sokoła. Zdjęcia są ogólnie znane. Prawdziwymi rodzynkami są dwa szkice Antoniego Kocjana, wykonane dla potrzeb badania w tunelu aerodynamicznym (!). Oczywiście droga od tych szkiców do prototypu jest bardzo długa, ale widać główne tendencje w bryle Sokoła. Uzbrojony w szkice, rysunki z książki i zdjęcia podejmuję kolejną próbę rysowania szybowca. Zapominam o wcześniejszych. Poniżej wersja bardzo robocza Sokoła, rzut z boku. Na czerwono elementy które należy dopieścić, ale to później. Błękitnym kolorem wielkość i rozmieszczenie oznakowania.


Załączniki:
sokół bryła 3.jpg
sokół bryła 3.jpg [ 80.44 KiB | Przeglądany 10570 razy ]
sokol.jpg
sokol.jpg [ 165.93 KiB | Przeglądany 10570 razy ]
sokol kadl 1 10 adw.jpg
sokol kadl 1 10 adw.jpg [ 62.65 KiB | Przeglądany 10570 razy ]

_________________
https://gliders.pl/ Szybowce są najfajniejsze....
SAM 18-007
pozdrawiam
milo
Na górę
 Wyświetl profil  
 
Wyświetl posty nie starsze niż:  Sortuj wg  
Nowy temat Odpowiedz w temacie  [ Posty: 37 ]  Przejdź na stronę Poprzednia  1, 2, 3, 4

Strefa czasowa UTC+2godz.


Kto jest online

Użytkownicy przeglądający to forum: Obecnie na forum nie ma żadnego zarejestrowanego użytkownika i 1 gość


Nie możesz tworzyć nowych tematów
Nie możesz odpowiadać w tematach
Nie możesz zmieniać swoich postów
Nie możesz usuwać swoich postów
Nie możesz dodawać załączników

Szukaj:
Przejdź do:  
Technologię dostarcza phpBB® Forum Software © phpBB Group